Пчелы
вернуться

Шнуровозова Татьяна Владимировна

Шрифт:

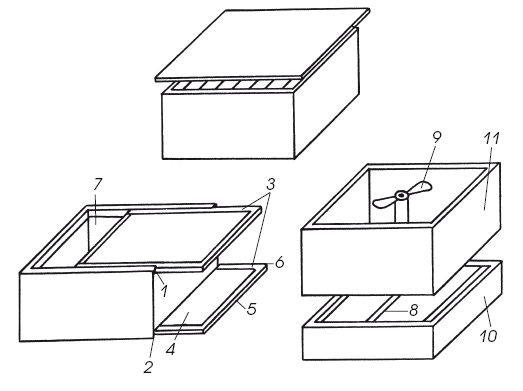
Корпус-камера-пчелоуловитель

Пчелоуловитель легко сделать из корпуса многокорпусного улья (рис. 10).

Рис. 10.

Пчелоуловитель: 1, 2 — пропилы; 3 — ограничительные рамки; 4 — металлическая сетка; 5 — ручка; 6 — планка; 7 — тонкая жесть; 8 — деревянный каркас; 9 — вентилятор; 10 — магазинная надставка; 11 — пустой корпус

Для этого в его поперечной стенке делают два сквозных пропила — верхний и нижний. Напротив нижнего пропила в продольных стенках с внутренней стороны вырезают пазы. Через пропилы в пазы вставляют деревянные ограничительные рамки с мелкой металлической сеткой, снабженные ручками и утолщенными планками. Последние должны входить в пропил корпуса.

Изнутри конструкцию обивают тонкой жестью, которую обрабатывают грубой наждачной бумагой и окрашивают нитрокраской черного цвета. Из деревянных дощечек делают каркас и устанавливают его через магазинную надставку на поддон многокорпусного улья. Затем на каркасе укрепляют вентилятор.

Перед началом процедуры удаления пчел на поддон многокорпусного улья ставят магазинную надставку, через которую помещают каркас с вентилятором. На магазинную надставку устанавливают пустой корпус, на который, в свою очередь, ставят корпус-камеру. Корпус с медовыми рамками при помощи тележки-подъемника снимают с улья и устанавливают его на корпус-камеру. Верхнюю ограничительную рамку с металлической сеткой выдвигают до тех пор, пока противоположная поперечная планка рамки не окажется в плоскости поперечной стенки корпуса. После этого снимают крышку, включают вентилятор и струей воздуха (например, из пылесоса), усиленной вентилятором, быстро сдувают пчел с рамок в корпус-камеру. Затем верхнюю рамку задвигают до упора.

Корпус с медовыми рамками при помощи тележки-подъемника поднимают и перемещают к месту откачки меда или в хранилище. Корпус-камеру с пчелами перевозят и устанавливают на улей, из которого они были удалены. Затем из корпуса выдвигают нижнюю решетку, после чего пчелы осыпаются на рамки нижнего корпуса. Корпус-камеру пчелоудалителя вместе с магазинной надставкой и поддоном перевозят к очередному улью.

Чтобы удалить пчел из медовых корпусов или магазинных надставок, на пасеках нередко используют довольно простой способ с применением химических средств. Вырезанную по размеру корпуса древесноволокнистую плиту в нескольких местах сбрызгивают бензойным альдегидом и кладут обработанной стороной на открытый корпус. После того как все пчелы покинут верхний корпус, плиту снимают и накрывают ею следующий корпус. Свободный от пчел верхний корпус при помощи подъемника приподнимают над ульем и перевозят в помещение для распечатывания рамок и откачки меда. Если в нем остались пчелы, перед транспортировкой их перегоняют в нижний корпус при помощи дыма или струи воздуха. Если пасека большая, то одновременно можно использовать 2 или 3 плиты, попеременно перенося их от улья к улью и забирая освободившийся корпус.

Переносной ящик для сот

Для переноски рамок с наполненными медом сотами из улья к медогонке, а также рамок с вощиной и расплодом со склада к ульям или от одной семьи к другой, для хранения пустых рамок, осмотра гнезда и т. д., необходим ящик с крышкой и ручкой.

Обычно он рассчитан на 6–10 рамок, а внутри сделаны такие же фальцы, как в улье, к которым подвешивают соты. Для облегчения веса ящика его обычно делают из фанеры или тонких дощечек.

Крышка ящика может быть откидной, закрепленной на петлях или выдвижной (как в пенале) (рис. 11).

Рис. 11. Переносной ящик для сот

Перед тем как начать откачку меда, необходимо распечатать соты. Для этого пчеловоды пользуются обычными пасечными ножами или специальными вилками, предварительно помещенными в горячую воду, или ножами с электрическим и паровым подогревом.

Инструменты для распечатывания сот и получения меда

Ножи и вилки для распечатывания сот

Пасечный нож отличается тем, что имеет изогнутую почти под прямым углом ручку и заточенное с одной или двух сторон плоское без кривизны лезвие. Для того чтобы открывать медовые ячейки в углублениях и выбоинах сот, он снабжен острым кончиком. Таким ножом легко срезать восковую пленку, не повреждая при этом ячейки.

Делают пасечные ножи обычно из стали, их длина колеблется от 15 до 23 см, а ширина лезвия — от 35 до 45 мм (рис. 12). Работают сразу двумя ножами: пока одним срезают восковую пленку или обрезают забрус (восковые крышечки медовых сот), другой нагревается в горячей воде.

В продаже есть специальные ножи, изготовленные для тех или иных видов работ. Кроме ножей стандартной формы, пчеловоды пользуются разными самодельными орудиями. На рисунке 13 приведен пасечный нож, сделанный из обломка косы.

Рис. 12. Пасечный нож

Рис. 13. Пасечный нож из обломка косы

Электрические ножи отличаются от обычных пасечных только тем, что в их лезвие вставлен нагревательный элемент.

Паровые ножи имеют пустотелое лезвие, по которому проходит пар от парообразователя (рис. 14). Инструмент состоит из бака-преобразователя, ножа и двух резиновых трубок. Емкость бака парового ножа заводского производства обычно составляет 5 л. К ножу приделан змеевик, по которому подается нагревающий его пар. К обоим концам змеевика прикреплены резиновые шланги. Один, более длинный (2 м), соединяет его с баком-парообразователем, другой — короче (1 м) — служит для вывода наружу отработанного пара. Во время работы бак-преобразователь ставят на источник тепла (например, газовую или электрическую плитку).

  • Читать дальше
  • 1
  • ...
  • 20
  • 21
  • 22
  • 23
  • 24
  • 25
  • 26
  • 27
  • 28
  • 29
  • 30
  • ...

Private-Bookers - русскоязычная библиотека для чтения онлайн. Здесь удобно открывать книги с телефона и ПК, возвращаться к сохраненной странице и держать любимые произведения под рукой. Материалы добавляются пользователями; если считаете, что ваши права нарушены, воспользуйтесь формой обратной связи.

Полезные ссылки

  • Моя полка

Контакты

  • help@private-bookers.win