Пчелы
вернуться

Шнуровозова Татьяна Владимировна

Шрифт:

Для того чтобы погрузить улей, стоящий на подставке, тележку-подъемник подкатывают под него с опущенной подвижной рамой. Вращая рукоятку, добиваются такого положения стойки и подвижной рамы, при котором улей окажется над подставкой.

Для того чтобы установить улей на подставку после его перемещения на новое место, тележку с ульем закатывают между стойками подставки и, вращая рукоятку в обратную сторону, опускают на нее улей.

Весы с резьбовым подъемником

Одной их самых простых и удобных в использовании конструкций являются обычные бытовые весы, установленные на пасечной тележке с резьбовым подъемником. Ее преимущество состоит в том, что она позволяет не только взвешивать, но и транспортировать ульи. К тому же она очень удобна в домашнем хозяйстве, так как применима к работе с самыми разными грузами, упакованными в любую тару (мешки, ящики), которую для этого надо предварительно поместить на подставки.

Схема изготовления такой тележки с самодельными весами, которая называется козловой, приведена на рисунке 7.

Рис. 7. Козловая тележка с самодельными весами-безменом: 1 — рама; 2 — полуоси; 3 — колеса; 4 — перекладина; 5 — резьбовой крюк; 6 — ограничитель; 7 — зацеп; 8 — гайка-ворот; 9 — захват; 10 — съемная ручка; 11 — винт

Тележка состоит из гнутой рамы с приваренными к ней четырьмя полуосями с колесами и боковых треугольных стоек с перекладиной, к которым прикреплен резьбовой крюк и съемный зацеп. Для того чтобы зацеп не перемещался, на перекладине устанавливают ограничители. При помощи гайки-ворота крюк может перемещаться по вертикали. К раме стержнем и винтом крепят съемную ручку. При этом саму конструкцию можно изготовить не только из длинных гнутых труб, но и из сваренных отрезков.

Для весов используют полосовой металл, на который нанесены деления и подвижная гиря, свободно передвигающаяся по планке (лучше всего для этих целей использовать устройство от обычных весов). На разных концах планки подвешивают грузовой крючок (на него в свою очередь подвешивают захват тележки) и емкость для разновесов. Для того чтобы планка весов не перемещалась по вертикали, устанавливают упорную скобу. Весы крепят к резьбовому крюку тележки при помощи хомута.

Для того чтобы взвесить или транспортировать улей, ручкой поднимают задние колеса тележки и подкатывают ее под его дно. После опускания ручки вниз задние колеса становятся на землю, а улей поднимается и оказывается подвешенным на весах.

После взвешивания или транспортировки ручку поднимают вверх, устанавливают улей на подставку и отводят от него тележку, не опуская при этом ручки. Такая тележка очень проста в эксплуатации и требует от пчеловода минимальных усилий и времени. Кроме того, она позволяет проводить работу с ульями, практически не беспокоя проживающие в них пчелиные семьи.

Приспособления по уходу за ульями

Магазинная подставка-пчелоудалитель

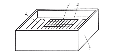
Одним из самых распространенных приспособлений для удаления пчел из улья служит магазинная подставка-пчелоудалитель (рис. 8).

Рис. 8. Магазинная подставка-пчелоуловитель: 1 — магазинная подставка; 2 — решетка; 3 — отверстия; 4 — продольные щели

К внутренним боковым стенкам магазинной подставки прибивают опорные бруски. Из оцинкованного листа или фанеры вырезают решетку, в которой высверливают продольные щели и отверстия. Ее кладут на бруски и устанавливают перпендикулярно ей между отверстиями и щелями пластины с окнами и шторками. Пространство над отверстиями оставляют открытым, а участки слева и справа за пластинами закрывают фанерой. Пчелоудалитель устанавливают под корпус с медом или под магазинную надставку с медовыми рамками. Пчелы опускаются на решетку и переходят к ней через окна.

Лотковый пчелоудалитель

Даже начинающий пчеловод очень легко может сделать лотковый удалитель пчел. Для этого потребуется тонкий лист оцинкованного железа, фанера или плотная полиэтиленовая пленка для перегородки, вырезанная по размеру корпуса (рис. 9).

Этой перегородкой верхний корпус изолируют от нижнего, одновременно сдвигая его таким образом, чтобы между наружной поверхностью передней стенки нижнего корпуса и внутренней поверхностью передней стенки верхнего корпуса осталась щель для прохода пчел. Лоток, плотно заходящий за боковые стенки улья, устанавливают от верхнего корпуса до летка. Через некоторое время пчелы освободят верхний корпус, так как перейдут из него в гнездовой корпус.

Рис. 9. Лотковый пчелоудалитель

В магазинных надставках с увеличенным межрамочным пространством и невысокими рамками при удалении пчел хороший эффект дает использование слабой струи воздуха из пылесоса или компрессора. Правда, в более объемных гнездовых корпусах применение такой технологии затруднено.

Перед началом процедуры удаления над прилетной доской устанавливают подставку под улей, на которой размещают магазинную надставку, и аккуратно выдувают пчел из всех улочек. Оказываясь на прилетной доске, насекомые легко проходят в леток гнезда. Этот способ не только эффективен, но и экономичен по времени.

  • Читать дальше
  • 1
  • ...
  • 19
  • 20
  • 21
  • 22
  • 23
  • 24
  • 25
  • 26
  • 27
  • 28
  • 29
  • ...

Private-Bookers - русскоязычная библиотека для чтения онлайн. Здесь удобно открывать книги с телефона и ПК, возвращаться к сохраненной странице и держать любимые произведения под рукой. Материалы добавляются пользователями; если считаете, что ваши права нарушены, воспользуйтесь формой обратной связи.

Полезные ссылки

  • Моя полка

Контакты

  • help@private-bookers.win