Строим дом
вернуться

Хворостухина Светлана Александровна

Шрифт:

Скатные крыши, в свою очередь, делятся на чердачные и бесчердачные. Чердачные крыши, как правило, делаются без тепловой изоляции – холодными. Бесчердачные крыши могут быть холодными (над неотапливаемыми помещениями) и теплыми (над отапливаемыми). Чердак можно использовать в качестве дополнительного хозяйственного помещения. Он способствует хорошей вентиляции жилища, при печном отоплении в нем находится дымовая труба. В последнее время чердачное помещение все чаще используется для устройства в нем мансарды.

Существует несколько видов скатных крыш (рис. 29): односкатные (опирающиеся на две наружные стены разной высоты); двухскатные (опирающиеся на две наружные стены равной высоты); полувальмовые двухскатные, (верхние части их торцевых стенок срезаны в виде треугольника – вальма); вальмовые (их торцевые скаты выполнены в виде скошенных треугольников, а боковые – в виде трапеций); шатровые (их четыре ската выполнены в виде одинаковых треугольников, сходящихся в одной точке); ломаные, или мансардные, (двухскатные, каждая плоскость которых представляет собой два прямоугольника, соединенных между собой под тупым углом).

Рис. 29. Виды скатных крыш: а – пологая двухскатная; б – крутая двухскатная; в – вальмовая четырехскатная; г – односкатная (в форме парты); д – ломаная (мансардная) двухскатная; е – шатровая четырехскатная

Рис. 29. Виды скатных крыш (продолжение): ж, з, и – полувальмовые (мансардные) четырехскатные

Устройство крыши

Крыша состоит из следующих основных элементов: несущей конструкции (из деревянных балок, стропил или сборных ферм в виде верхнего и нижнего поясов и заключенной между ними решетки из скосов и подкосов); основания под кровлю; гидро– и теплоизоляционного слоя; собственно кровли. Балочная конструкция крыши применяется при длине пролета менее 4,5 м, а фермы – 5–10 м и более.

Стропила. В качестве составного элемента крыши стропила выполняют очень важную функцию, поддерживая обрешетку и тем самым принимая на себя вес кровли, давление снега и ветра.

По конструкции стропила делятся на наслонные и висячие. Если пролет крыши (расстояние между опорами) не превышает 6,5 м, а при дополнительной опоре – 10–12 м, то используются наслонные стропила. Висячие стропила применяются в том случае, когда пролет крыши составляет 7–12 м и нет дополнительных опор. В отличие от наслонных они передают на мауэрлат только вертикальное давление.

Основными элементами висячих стропил являются стропильные ноги и затяжки нижнего пояса. В зависимости от материала, из которого выполнено здание, стропильные ноги могут крепиться на верхние венцы в деревянных, рубленых или брусчатых зданиях; на верхнюю обвязку в деревянных каркасных зданиях; на опорные брусья – мауэрлат – в каменных зданиях.

Если стропильные ноги выполнены с небольшим сечением, то предохранить их от провисания можно с помощью решетки из стойки, подкосов и ригеля. Стойки и подкосы изготавливаются из досок шириной 150 мм и толщиной 25 мм или из деревянных пластин, полученных из бревна с диаметром не менее 130–140 мм.

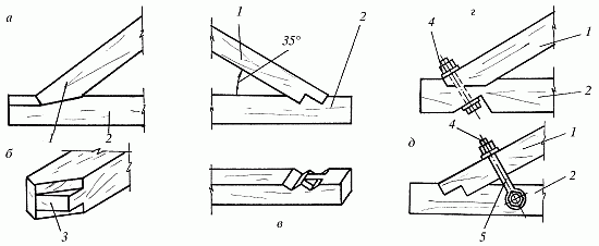
При установке стропильная нога врубается в затяжку. Чтобы ее конец не скользил по затяжке и не скалывал ее, врубать ногу надо зубом, высота которого составляет 1/3 высоты затяжки, шипом или с использованием обоих способов (рис. 30, а). Кроме того, затяжка будет оставаться целой и не скалываться, если установить стропила на расстоянии примерно 300–400 мм от края. Стропильная нога врубается в конец затяжки, зуб при этом отодвигается как можно дальше. Для усиления крепления стропила можно использовать двойной зуб (рис. 30, б). Высота зубов может быть одинаковой, но чаще всего их делают так, чтобы высота первого составляла 1/5 толщины затяжки, а второго – 1/3. Для первого зуба на затяжке делается упор и шип, а на стропиле – проушина; для второго – только упор.

Рис. 30. Соединение стропил: а – зубом; б – шипом; в – двойным зубом; г – болтом; д – хомутом; 1 – стропильная нога; 2 – затяжка; 3 – шип; 4 – болт; 5 – хомут

В качестве дополнительного крепления стропил в затяжках можно использовать хомуты или болты. Последние применяются реже, так как они ослабляют сечение стропильных ног и затяжек.

Подкосы с бабкой соединяются врубкой, при этом в бабке долбится гнездо, а в подкосе вырубается шип. Такое соединение в висячих стропилах укрепляется дополнительно болтами или хомутами. Ригель со стропильными ногами соединяется врубкой сковороднем вполдерева. Соединение крепится болтом и нагелем, а для придания ему большей прочности – скобой. Составные части затяжки скрепляются между собой зубом, металлической накладкой и болтами. С бабкой затяжка соединяется хомутом.

Для того чтобы предохранить стены здания от атмосферной воды, крыша должна иметь свес длиной не менее 550 мм. Кроме того, что концы стропильных ног крепятся в затяжке, с помощью так называемых скруток они закрепляются дополнительно за стены здания. Это позволяет уберечь крышу от повреждения при сильных порывах ветра. Скрутка представляет собой кусок крупной проволоки, один конец которой прикреплен к стропильной ноге, а другой – к костылю, вбитому в шов каменной кладки на расстоянии 300–350 мм от верхнего края стены или к балке чердачного перекрытия. В рубленых деревянных домах вместо скрутки используется железная скоба, соединяющая стропила со вторым венцом сруба.

  • Читать дальше
  • 1
  • ...
  • 26
  • 27
  • 28
  • 29
  • 30
  • 31
  • 32
  • 33
  • 34
  • 35
  • 36
  • ...

Private-Bookers - русскоязычная библиотека для чтения онлайн. Здесь удобно открывать книги с телефона и ПК, возвращаться к сохраненной странице и держать любимые произведения под рукой. Материалы добавляются пользователями; если считаете, что ваши права нарушены, воспользуйтесь формой обратной связи.

Полезные ссылки

  • Моя полка

Контакты

  • help@private-bookers.win