Строим дом
вернуться

Хворостухина Светлана Александровна

Шрифт:

Двойные перегородки. Для того чтобы сделать двойные перегородки, потребуются широкие доски или щиты шириной примерно 60 см. Щиты могут быть фанерными, гипсокартонными, из древесно-стружечной или древесно-волокнистой плиты. Доски и щиты также прибиваются на специальные рамы. Из-за того что щиты крепятся на внешнюю сторону, внутри остается пространство, которое нужно заполнить сложенным в несколько слоев рулонным материалом (толь или рубероид), стекловатой или строительным картоном.

Тройные перегородки, в отличие от двойных и одинарных, создают хорошую тепло– и звукоизоляцию. Для устройства таких перегородок необходимо установить широкие рамы, которые позволили бы свободно расположить во внутреннем пространстве не только два слоя прокладки, но и слой горизонтально установленных досок.

Прежде всего прибейте доски внутри рамы. Затем закрепите слой прокладки и закройте его щитом или вертикально прибитыми широкими досками. В качестве звукоизоляционного слоя можно использовать строительный картон, рубероид или толь, сложенные в несколько слоев, стекловату, стекловолокно и стеклоблоки. Сверху и снизу готовую перегородку можно укрепить плинтусом.

Устройство потолков

На готовую обрешетку перекрытия теперь можно набить рейку и фанерные щиты. Их устанавливают на балки, при этом сами балки не будут видны, или набивают в нишу перекрытий – таким образом получается рельефный потолок. В первом случае потолок будет на 10–20 см ниже перекрытий, а во втором варианте высота остается прежней.

Настилка полов

Настилают пол в рубленом доме сразу после того, как сруб дал усадку. Это основание жилого помещения, которое накладывается на перекрытие или на грунт.

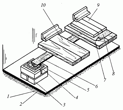
Более простой тип полов – по грунту (рис. 27). Для устройства таких полов прежде всего необходимо уплотнить грунт основания. Сверху на него укладывают подстилающий слой из бетона, смешанного со щебенкой. Он позволяет выровнять поверхность и еще больше укрепить ее. Этот слой обязательно должен хорошо высохнуть, чтобы установленный на него следующий уровень не просел. В качестве следующего уровня используются кирпичные столбики шириной в один кирпич. Их высота колеблется от одного кирпича до полутора, т. е. столбики укладываются из 2–3 уровней кирпичей. На эти столбики будет укладываться антисептированная деревянная прокладка. Но для того чтобы она не сгнила под действием влажного и холодного кирпича, под нее обязательно подкладываются несколько слоев толя или рубероида.

Рис. 27. Схема устройства дощатого пола по грунту: 1 – уплотненный грунт основания; 2 – подстилающий слой из щебенки и бетона; 3 – кирпичный столбик; 4 – слой толя или рубероида; 5 – подкладки; 6 – лаги; 7 – дощатый пол; 8 – слой картона; 9 – паркетный пол; 10 – плинтус

Прокладка чаще всего делается из древесины твердых пород и потом пропитывается в антисептическом растворе. На такую прокладку устанавливаются деревянные балки, которые еще называют лагами. Они располагаются на расстоянии 50–60 см друг от друга. Именно они и служат той основой, на которую потом будут прибиваться половые доски.

В комнате деревянные балки укладываются от окна к противоположной стене, а в коридоре – от входной двери к противоположной стене. Сверху на лаги укладываются собственно половые доски. Лучше всего использовать доски толщиной 10 см, которые необходимо соединять между собой способом сплачивания в четверть или на вставную рейку. Сверху на этот слой досок, собственно на дощатый пол, кладется слой картона или другой прокладки, на который, в свою очередь, настилается паркетный пол. В любом случае, положите ли вы паркет или нет, пол закрепляется плинтусом.

Полы, которые кладутся на железобетонную плиту перекрытия, имеют свои особенности. Прежде всего они заключаются в основе. Здесь на плиту укладывается теплоизоляционный слой, на него – подстилающий слой из щебенки и бетона, непосредственно на который настилается слой сложенного в несколько раз рулонного материала, например рубероида или толя. Сверху на этот слой устанавливаются лаги, к которым и прибиваются доски пола.

Дощатый пол. Сами доски полов настилают по направлению к двери от противолежащей стены. При этом первую доску укладывают вдоль стены, оставляя небольшой зазор для вентиляции подполья, и прикрепляют гвоздями по всей длине. Следующие 3–4 доски укладываются рядом плотно друг к другу, но не прибиваются сразу. Для их крепления сначала необходимо использовать строительные скобы, а потом гвозди.

Полы из древесно-стружечной плиты. Если у вас нет возможности купить хорошую половую доску, то ее можно заменить древесно-стружечной плитой, которая кладется на лаги. Для крепления такого покрытия лучше всего использовать сразу два вида: гвозди и шурупы, потому что структура плиты не позволяет прочно удержаться гвоздю в массиве. Крепление гвоздями предпочтительнее делать через каждые 25 см, а шурупами – через каждые 40 см. Так же как и при настилке дощатых полов, здесь должен быть сохранен зазор между поверхностью пола и стеной для вентиляции подполья. Такое расстояние не должно превышать 3 см. Это допускается только возле стен. Между торцевыми сторонами плит никакого зазора быть не должно. После того как пол готов и прибиты все плинтусы, вам предстоит специальной шпатлевкой для дерева замазать все углубления, оставшиеся после гвоздей и шурупов. Затем отшлифуйте пол крупнозернистой шкуркой, потом мелкозернистой шкуркой и покройте несколькими слоями лака. С таким же успехом можно воспользоваться масляной, нитрокраской или постелить сверху линолеум.

  • Читать дальше
  • 1
  • ...
  • 23
  • 24
  • 25
  • 26
  • 27
  • 28
  • 29
  • 30
  • 31
  • 32
  • 33
  • ...

Private-Bookers - русскоязычная библиотека для чтения онлайн. Здесь удобно открывать книги с телефона и ПК, возвращаться к сохраненной странице и держать любимые произведения под рукой. Материалы добавляются пользователями; если считаете, что ваши права нарушены, воспользуйтесь формой обратной связи.

Полезные ссылки

  • Моя полка

Контакты

  • help@private-bookers.win