Сварка
вернуться

Банников Евгений

Шрифт:

Стыковая контактная электросварка

Различают следующие способы стыковой сварки (рис. 29а):

• стыковая сварка сопротивлением;

• стыковая сварка оплавлением.

Стыковая контактная сварка сопротивлением – разновидность контактной сварки, при которой заготовки, установленные и закрепленные в стыковой машине, прижимают одну к другой усилием определенной величины, после чего пропускают по ним электрический ток. При нагревании металла в зоне сварки до пластического состояния происходит осадка. Ток выключают до окончания осадки.

Недостаток этого способа в том, что им можно соединять детали малого сечения (до 100 мм2) с простым периметром (круг, квадрат, прямоугольник и т. п.). Детали при этом способе требуют тщательной очистки.

Стыковая сварка оплавлением. При этом способе детали медленно сближают при включенном источнике тока. Соприкосновение поверхностей при медленном сближении приводит к образованию отдельных микроконтактов, через которые протекает ток высокой плотности. Происходит взрывное оплавление микроконтактов. При этом под действием магнитного поля расплавленный и кипящий металл выбрасывается наружу. Последующее сжатие заготовок приводит к образованию сварного шва. Осадку деталей начинают при включенном токе и завершают при выключенном токе. При этом используют непрерывное или прерывистое оплавление места сварки.

Сварка оплавлением имеет преимущества перед сваркой сопротивлением в том, что при оплавлении выравниваются все неровности стыка, а оксиды и загрязнения удаляются. Поэтому не требуется особой подготовки места соединения, можно сваривать детали с сечением сложной формы. Сваркой оплавлением соединяют разнородные металлы – быстрорежущие, углеродистые стали, медь, алюминий.

Наиболее распространенными изделиями, изготовляемыми стыковой сваркой, являются элементы трубчатых конструкций, кольца, колеса, инструмент, рельсы, арматура для строительства.

Точечная контактная электросварка

Заготовки соединяют сваркой в отдельных местах, условно называемых точками.

Размеры и структура точки, определяющие прочность соединения, зависят от различных факторов. Форма и размеры контактной поверхности электродов, сила сварочного тока, время его протекания через заготовки, усилия сжатия и состояния поверхностей заготовок – это основные технологические параметры точечной сварки.

При этом способе соединяемые детали внахлестку расположены под сжимающими электродами. К электродам подводится электрический ток. В момент прохождения тока заготовки нагреваются, особенно быстро нагреваются участки, прилегающие к контакту между электродами. При этом металл расплавляется, и под действием сжимающих усилий капля расплавленного металла сплющивается на стыке «деталь-деталь». В момент образования в зоне сварки расплавленного ядра заданных размеров ток выключают. После выключения тока заготовки кратковременно выдерживают между электродами под действием усилия сжатия, в результате чего происходит охлаждение зоны сварки, кристаллизация расплавленного металла и уменьшение усадочной раковины в ядре сварной точки. Электроды оставляют характерный отпечаток в виде точки.

Точечной сваркой можно сваривать листовые заготовки одинаковой или разной толщины, пересекающиеся стержни, листовые заготовки со стержнями или профильными заготовками (уголками, швеллерами, таврами и т. п.).

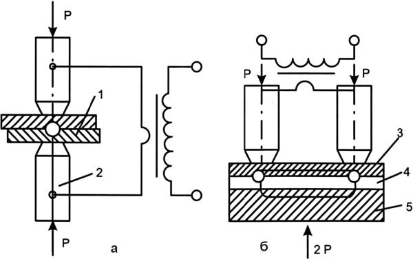
Рис. 30.

Схема точечной электросварки:

а – схема процесса; б – сечение сварной точки; Р – давление сжатия заготовок

Точечную сварку применяют для соединения заготовок из сталей различных марок, а также из цветных металлов и их сплавов толщиной от сотых долей миллиметра до 35 мм.

Сварка, в зависимости от расположения электродов по отношению к свариваемым заготовкам, может быть двухсторонней и односторонней.

Типы сварных соединений точечной контактной сваркой показаны на рисунке 31.

Точечной сваркой изготавливают штампосварные заготовки – при соединении отдельных штампованных элементов сварными точками, что упрощает процесс изготовления сварных узлов. Точечная сварка широко применяется при производстве автомобилей и в авторемонтных мастерских – при замене элементов кузова.

Рис. 31.

Типы сварных соединений точечной сваркой

Можно выделить рельефную сварку как вид контактной одновременной многоточечной сварки.

Рельефная сварка характерна тем, что на одной из заготовок предварительно изготавливают выступы (рельефы) – круглой, кольцевой, продолговатой или иной формы. Сварку выполняют одновременно по всем рельефам, что обеспечивает высокую производительность процесса.

Основные технологические параметры точечной сварки:

• удельное усилие сжатия – Р (МПа);

• плотность тока – i (А/мм2);

• время протекания тока – t (с).

Шовная (роликовая) контактная электросварка

Шовная (роликовая) сварка – разновидность контактной сварки, при которой заготовки соединяют прочно-плотным сварным швом, состоящим из ряда точек, перекрывающих друг друга. Электроды имеют вид роликов (дисков) диаметром – 400 мм. Форму рабочей поверхности выбирают в зависимости от толщины, формы и материала свариваемых заготовок. Ролики для сварки делают из токопроводящих материалов, с высокой теплопроводностью, например из меди или специальных сплавов.

  • Читать дальше
  • 1
  • ...
  • 18
  • 19
  • 20
  • 21
  • 22
  • 23
  • 24
  • 25
  • 26
  • 27
  • 28
  • ...

Private-Bookers - русскоязычная библиотека для чтения онлайн. Здесь удобно открывать книги с телефона и ПК, возвращаться к сохраненной странице и держать любимые произведения под рукой. Материалы добавляются пользователями; если считаете, что ваши права нарушены, воспользуйтесь формой обратной связи.

Полезные ссылки

  • Моя полка

Контакты

  • help@private-bookers.win