Сварка
вернуться

Банников Евгений

Шрифт:

• плазменную струю, выделенную из столба косвенной дуги;

• плазменную дугу, совмещенную с плазменной струей.

Соответственно применяют два типа плазменных горелок.

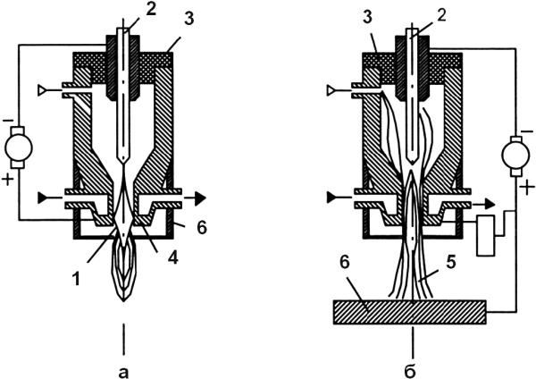
В горелках (рис. 9а) для получения плазменной струи дуга (1) горит между вольфрамовым электродом (2) и соплом (4), к которому подключен положительный полюс источника тока. Электрод изолирован от корпуса горелки керамической прокладкой (3). Сопло интенсивно охлаждается водой. Из сопла выходит яркосветящаяся плазменная струя (5). Горелка питается током прямой полярности от источников с падающей характеристикой.

Плазменная струя представляет собой независимый источник теплоты, позволяющий в широких пределах изменять степень нагрева и глубину проплавления поверхности заготовок. Тепловая мощность плазменной струи ограничена, ее применяют для резки и сварки тонких металлических листов и диэлектрических материалов, а также для напыления тугоплавких материалов на поверхность заготовок.

Горелки, предназначенные для сварки, снабжены вторым концентрическим соплом (6), через которое подается защитный газ. Сопло электрически нейтрально и служит для сжатия и стабилизации дуги.

Сжатие столба происходит следующим образом: рабочий газ, проходя через столб дуги, нагревается, ионизируется и выходит из сопла плазмотрона в виде плазменной струи.

Плазменная струя имеет форму ярко выраженного конуса (рис. 9а) с вершиной, обращенной к изделию и окруженной факелом.

Устройство горелок для получения плазменной дуги (рис. 9б) принципиально не отличается от устройства горелок первого типа. Только дуга горит между электродом и изделием.

Процесс возбуждения плазменной дуги между электродом и изделием осуществить очень трудно. Поэтому дуга вначале возбуждается между электродом и соплом (дежурная дуга), а затем при касании ее факела изделия происходит автоматическое зажигание основной дуги между электродом и изделием. Для этого к соплу подключен токопровод от положительного полюса источника тока.

Плазменная дуга обладает большей тепловой мощностью по сравнению с плазменной струей, т. к. в изделие вводится дополнительное тепло от электрического тока дуги. Плотность теплового потока плазмотрона в десятки раз больше теплового потока при сварке плавящимся электродом.

Различают следующие виды плазменной технологии:

• плазменная сварка со сквозным проплавлением (толщина материала свыше 3 мм);

• плазменная сварка плавлением (толщина материала 1–3 мм);

• микроплазменная сварка (толщина материала 0,01–1 мм).

На рисунке 10 представлена конструкция микроплазменной горелки.

Оборудование для плазменно-дуговой сварки, резки, напыления:

• источник питания плазменной дуги с вертикальной вольт-амперной характеристикой;

• плазменная горелка-плазмотрон;

• системы подачи газа и охлаждения горелки;

• порошковый питатель (для напыления);

• устройства перемещения и фиксации деталей;

• система приточно-вытяжной вентиляции.

Преимущества плазменной технологии:

• высокая концентрация теплоты;

• высокая стабильность горения, что обеспечивает лучшее качество сварных швов;

• возможность сварки металлов до 10 мм без разделки кромок и применения присадочных материалов;

• возможность вести сварку на низких токах 0,1–25 А, в режиме микроплазменной сварки листов металла толщиной 0,01–0,8 мм;

• при увеличении тока дуги и расхода газа проникающая плазменная дуга позволяет вести резку любых современных материалов;

• введением в плазменную дугу присадочных металлов производят напыление, наплавку любых металлов, от легкоплавких и до тугоплавких;

• возможность сваривать металлы с неметаллами;

• минимальная, по сравнению с другими способами, зона термического влияния;

• более низкие термические деформации по сравнению с другими видами сварки;

• возможность обработки (сварка, напыление, резка) тугоплавких, жаропрочных металлов;

• пониженный расход защитных газов по сравнению с аргонно-дуговой сваркой;

• высокотехнологичный процесс, возможность автоматизации.

Рис. 9.

Схема получения плазменных источников нагрева:

а – плазменная струя, выделенная из дуги; б – плазменная дуга, совмещенная с плазменной струей.

Рис. 10. Конструкция микроплазменной горелки:

1 – корпус горелки; 2 – втулка керамическая; 3 – зажимная цанга; 4 – вольфрамовый электрод; 5 – металлическое сопло; 6 – керамическое сопло; 7 – металлический корпус (неразъемный); 8 – керамическая изоляционная втулка; 9 – пружина; 10 – верхняя часть корпуса; 11 – кольцо опорное; 12 – гайка для зажима цанги; 13, 14 – винт и головка для регулировки зазора; 15 – защитный колпачок; 16 – кнопка для перемещения электрода к соплу.

  • Читать дальше
  • 1
  • ...
  • 7
  • 8
  • 9
  • 10
  • 11
  • 12
  • 13
  • 14
  • 15
  • 16
  • 17
  • ...

Private-Bookers - русскоязычная библиотека для чтения онлайн. Здесь удобно открывать книги с телефона и ПК, возвращаться к сохраненной странице и держать любимые произведения под рукой. Материалы добавляются пользователями; если считаете, что ваши права нарушены, воспользуйтесь формой обратной связи.

Полезные ссылки

  • Моя полка

Контакты

  • help@private-bookers.win