Ковка
вернуться

Навроцкий Александр Георгиевич

Шрифт:

Винтовые прессы с ручным приводом применяются для чеканки, обрезки заусенцев, запрессовки деталей и пробивания фасонных отверстий в листовых заготовках. На рис. 1.1.58 показан ручной винтовой пресс для пробивания фасонных отверстий (отдушек) на самоварных поддонах и конфорках. Пресс своим основанием (п. 1) (хвостом) надежно крепится к верстаку. При вращении маховика (п.2) с жестко связанным винтом (п.3) начинается перемещение вниз ползуна (п.4) с инструментом – пуансоном (п.5). На нижнюю матрицу надевается конфорка, в которой и пробиваются фасонные отверстия.

Рис. 1.1.58. Винтовой пресс.

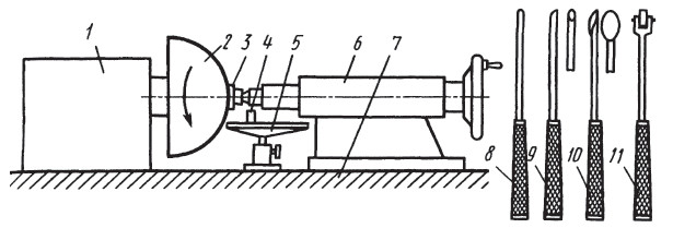
Рис. 1.1.59–60. Давильный станок.

Для давильных работ применяют давильный станок (рис. 1.1.59), но можно использовать и токарный станок. На шпиндель (п.1) закрепляют деревянную колодку – оправку (п.2) с профилем, необходимым для выдавливания изделия, и заготовку – кружок из латуни. Оправка обычно изготовляется из дерева, а при выполнении сложных работ, связанных с большими усилиями, – из металла. Круглая металлическая заготовка из листовой меди, латуни, алюминия, низкоуглеродистых сортов стали прижимается к оправке специальным деревянным прижимом (п. 3) при помощи задней бабки станка (п. 6), установленной на станине (п. 7). Для выдавливания изделия применяют специальный инструмент – давильники (рис. 1.1.60 б, п. 8–11). Они в основном изготовляются из стали, но могут быть из латуни, бронзы и даже твердых пород дерева. Длина рукоятки давильника должна быть свыше 40 см, а рабочий конец может иметь шарообразную или скругленную форму или вращающийся ролик. Давильники при работе опираются на специальные штифты (п. 4), которые устанавливаются на упоре (п.5). Высота упора чуть ниже оси вращения заготовки. Давильник необходимо держать так, чтобы его рукоятка была направлена к подмышке. Перед работой заготовку и инструмент протирают салом или воском. Выдавливание начинают от центра к краям. Если в процессе выдавливания на заготовке начинают образовываться складки, то ее необходимо отжечь, а затем продолжать процесс выдавливания. После окончания выдавливания края заготовки следует подрезать резцом, поверхность обработать гладильным давильником (п. 9, 10) а затем шлифовать и полировать.

Техника безопасности

Все кузнечное оборудование относится к оборудованию повышенной опасности, поэтому при работе необходимо уделять большое внимание качеству ручного и съемного инструмента и средствам индивидуальной защиты.

Перед началом работы следует проверить исправность молота, а также наковальни, нагревательных устройств и воздуховодов и устранить замеченные недостатки. Наковальня должна быть надежно прикреплена к стулу и стоять устойчиво. Расстояние между наковальней и горном должно быть не менее 1,5 м, между рядом расположенными наковальнями – не менее 4 м и от наковальни до прохода – не менее 2 м. При проверке наковальни «на удар» звук должен быть чистым, звонким, без дребезжания, что свидетельствует об отсутствии трещин.

До начала работы устанавливают щиты, где это необходимо, для предохранения от возможного поражения людей отлетающей окалиной или частицами металла, а также экраны для защиты от теплового воздействия нагревательных устройств.

Перед началом работы следует проверить инструмент. Разрешается работать только исправным инструментом, и обязательно использовать его по прямому назначению. Инструменты следует располагать на рабочем месте с максимальным удобством для пользования, не допуская в зоне работы лишних предметов. Пол на рабочем месте должен быть ровным и сухим (не скользким); следует своевременно производить его уборку и не загромождать заготовками, отходами и другими предметами. В бачке для охлаждения инструмента всегда должна быть чистая вода.

Перед работой необходимо очистить от окалины, масла, воды или других возможных загрязнений рабочую поверхность наковальни, протереть тряпкой (ветошью) мокрый или замасленный инструмент.

Во время работы следует пользоваться защитными очками с небьющимися стеклами для предохранения глаз от поражения отлетающими частицами, а при обработке поковок, нагретых до белого каления, – очками со светофильтром. Нельзя смотреть незащищенными глазами на яркое пламя – это может привести к ослаблению и потере зрения.

На рабочем месте недопустимо присутствие лиц, непосредственно не участвующих в работе. При выполнении работы надо быть внимательным, не отвлекаться на посторонние дела или разговоры и не отвлекать от работы других.

При ковке заготовок необходимо соблюдать температурный интервал. Ковка перегретого или охладившегося ниже нормы металла запрещается, так как это может быть причиной несчастного случая.

Инструмент перед применением надо подогревать, а сильно нагревшийся во время работы охлаждать в бачке с чистой водой и затем просушивать. Удалять окалину и обрубки с наковальни рекомендуется специальными щетками или короткой метлой.

Перед ковкой следует удалить с заготовки окалину металлической щеткой, скребком или легкими ударами молотка. Поковку надо брать клещами так, чтобы губки клещей плотно прилегали к ней. Для надежного крепления поковок в клещах на их ручки рекомендуется надевать предохранительные кольца. Заготовку укладывают на наковальню так, чтобы она плотно прилегала к ней (проверяют легким ударом по заготовке молотком). Для подъема и перемещения к наковальне вручную тяжелых заготовок пользуются самозажимающими (болваночными) клещами. Ручки инструмента при ударах надо держать только сбоку, а не перед собой. Нельзя держать пальцы между ручками клещей. Необходимо следить за тем, чтобы молотобоец стоял к кузнецу вполоборота, а не напротив него. Команды молотобойцу следует подавать четко, громким голосом и показывать молотком место удара. Наносить удары можно только по месту ковки.

Должны быть исключены удары по клещам, ручкам инструмента, холостые удары кувалдой по наковальне. Окончание ковки производить по команде «Стой!», а не выносом поковки с наковальни. Класть какой-либо инструмент на поковку или изменять ее положение разрешается только после предупреждения молотобойца.

При рубке металла зубило устанавливают строго вертикально. Рубку производят на краю (ребре) наковальни, на плоскости наковальни с «подкладкой» и на незакаленной площадке около рога. Первый и последний удары делаются слабыми; перед последним ударом заготовку переворачивают подрубленной стороной вниз и наносят окончательный удар. Отрубаемый конец поковки следует направлять от себя и в сторону, убедившись в том, что это не угрожает кому-либо.

  • Читать дальше
  • 1
  • ...
  • 18
  • 19
  • 20
  • 21
  • 22
  • 23
  • 24
  • 25
  • 26
  • 27
  • 28
  • ...

Private-Bookers - русскоязычная библиотека для чтения онлайн. Здесь удобно открывать книги с телефона и ПК, возвращаться к сохраненной странице и держать любимые произведения под рукой. Материалы добавляются пользователями; если считаете, что ваши права нарушены, воспользуйтесь формой обратной связи.

Полезные ссылки

  • Моя полка

Контакты

  • help@private-bookers.win