Ковка
вернуться

Навроцкий Александр Георгиевич

Шрифт:

Рис. 1.1.52 Сменные пуансоны.

Бойки, рабочие сменные накладки и вкладыши к бойкам изготавливаются из сталей 50, 50Г, 40ХН, 5ХНВ, 5ХГМ и подвергаются термической обработке на твердость HRC 40–50. Кромки рабочей поверхности бойков должны быть по технике безопасности скруглены.

Основными технологическими операциями при ковке являются:

Отрубка – операция, при которой отделяется какая-либо часть заготовки, а разрубка – разделение заготовки на заданные длины. Отрубка прямоугольных заготовок небольших сечений (рис. 1.1.53 а) осуществляется «в холодную» двумя стальными подкаленными заготовками прямоугольного сечения, одна из которых (п. 4) укладывается на нижний боек (п. 5), а сверху накладывается заготовка (п. 3). На нее параллельно нижнему ножу накладывают второй нож (п. 2) так, чтобы между режущими кромками был минимальный зазор. Нанося по верхнему квадрату удар бойком (п. 1), разрубают заготовку на части. Более толстые заготовки разрубают «в горячую» топором (рис. 1.1.53 б) с одной стороны без применения и с применением (в) подкладного квадрата.

Рис. 1.1.53 Отрубка (а) и разрубка (б) заготовок.

Протяжка – основная операция, при которой изменяется площадь сечения заготовки и увеличивается ее длина. Протяжку можно производить как на всю длину в одном направлении, без кантовки (Рис. 1.1.54), с кантовкой после каждого прохода (б) и кантуя заготовку после каждого удара на 90 градусов (в).

1.1.54 – Схема протяжки.

Гибка на молоте осуществляется следующим образом: нагретую заготовку зажимают между бойками молота и ударами кувалды гнут ее (рис. 1.1.55 а). Для гибки скоб используют подкладной штамп и оправку соответствующего радиуса (рис. 1.1.55 б).

Рис. 1.1.55 Гибка заготовки.

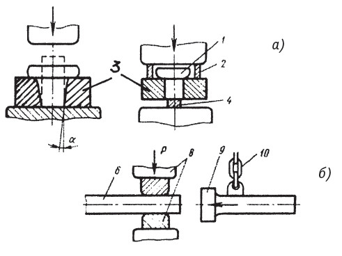
Осадка производится на молотах с помощью плоских бойков, а высадку невысоких заготовок – с помощью подкладного кольца (рис. 1.1.56 а). Удаление поковки (п. 1) из кольца (п. 3) производится при помощи надставки (п. 2) и подкладки (п. 4), (рис. 1.1.56 б). Высадку головки на длинном стержне производят следующим образом: конец заготовки (п. 6) (рис. 1.1.56 в) нагревают, после чего стержень зажимают бойками молота (п. 8) и тяжелым подвешенным на цепях (п. 10) инструментом (п. 9) (соколом или балдой) ударяют по нагретому концу и деформируют головку.

Рис. 1.1.56 Высадка заготовки

Пробивку отверстия в плоской заготовке (п. 2) (рис. 1.1.57 а) осуществляют на подкладном кольце (п. 3) с подставкой (п. 4) с помощью прошивня (п. 1), который внедряется в заготовку до образования отверстия и отделения «выдры» (п. 5). Изготовление отверстий в более толстых заготовках (рис. 1.1.57 б) осуществляют при помощи конического прошивня, который устанавливают на нагретую заготовку и с помощью молота внедряют его на 2/3 ее высоты. После этого заготовку переворачивают (рис. 1.1.57 в) на потемневшее место устанавливают прошивень и ударами верхнего бойка пробивают отверстие и выбивают «выдру».

Рис. 1.1.57 Пробивка заготовок

Пневматические молоты используют кузнецы в основном для предварительных операций, таких как протяжка, разгонка, осадка и др. А вот киевские кузнецы-художники О. Стасюк, В. Демин и А. Миловзоров отковали на молоте оригинальную решетку для Дома художников в Киеве (фото 1.1.23–1.1.26).

Еще одно уникальное изделие – пятитонную розу (фото 1.1.27) изготовили ульяновские кузнецы фирмы «Корч» под руководством Александра Романова и Ивана Монастырского на гидравлическом прессе усилием 1250 т Ульяновского завода тяжелых станков. Технология художественной ковки таких крупногабаритных изделий (высотой более 3,5 м) не имеет аналогов в мире. Эта роза была подарена Санкт-Петербургу на 300-летие города.

На фото 1.1.28 директор ульяновской фирмы, президент Союза кузнецов России Алекандр Романов делится своими планами с Генеральным директором «Металлургиздат» Ольгой Николаевной Новоселовой.

Ульяновские кузнецы изготовили и очень оригинальный столик-подставку (фото 1.1.29), столешницами которого являются распиленные вдоль и отполированные древние раковины.

Параллельно с развитием молотов шло развитие винтовых прессов, которые первоначально применялись в сельском хозяйстве для выжимания сока из фруктов и масла из семян, позднее использовались для чеканки монет, а с XVIII в. – для изготовления массовых деталей на оружейных и машиностроительных заводах.

  • Читать дальше
  • 1
  • ...
  • 17
  • 18
  • 19
  • 20
  • 21
  • 22
  • 23
  • 24
  • 25
  • 26
  • 27
  • ...

Private-Bookers - русскоязычная библиотека для чтения онлайн. Здесь удобно открывать книги с телефона и ПК, возвращаться к сохраненной странице и держать любимые произведения под рукой. Материалы добавляются пользователями; если считаете, что ваши права нарушены, воспользуйтесь формой обратной связи.

Полезные ссылки

  • Моя полка

Контакты

  • help@private-bookers.win