Строим дом
вернуться

Хворостухина Светлана Александровна

Шрифт:

Электропроводка прокладывается по наружным стенам зданий и сооружений, под различного рода навесами, карнизами. К ней относятся также участки линий электропередач, находящиеся вне улиц и дорог, расположенные на внутриквартальных территориях, между зданиями и т. п. Здесь проводка должна быть выполнена на несущих опорах, и ее длина в каждом отдельном случае не должна превышать 100 м (четыре пролета по 25 м каждый).

Как уже говорилось, чаще всего наружная электропроводка применяется для ввода воздушной линии электропередачи в здание. Помните, что не следует переоценивать свои силы и возможности. Монтировать ввод воздушной линии должен квалифицированный электрик, имеющий допуск к работе с высоким напряжением, необходимые навыки и соответствующий этой работе инструмент. А вот знать основные правила ввода и необходимые требования к наружной проводке нужно каждому хозяину. Иначе вы просто не сможете контролировать качество работы специалиста-электрика. Ввод воздушной линии состоит из двух участков – ответвления от воздушной линии до ввода и самого ввода.

Ответвление от воздушной линии – это участок проводов от опоры воздушной линии до изоляторов на наружной стене здания. Участок от этих изоляторов до вводного устройства внутри здания называется вводом. Если опора воздушной линии находится на расстоянии не более 10 м от ввода, то ответвление можно проводить неизолированными проводами сечением не менее 4 мм2. При расстоянии от воздушной линии до ввода от 10 до 25 м ответвление должно быть выполнено изолированным медным или алюминиевым проводом. При этом сечение медного провода не должно быть меньше 6 мм2, а сечение алюминиевого – не меньше 16 мм2.

Если вместо провода используется кабель, проложенный на тросу, сечение жил медного кабеля не должно быть меньше 2,5 мм2, алюминиевого кабеля – 4 мм2. Провода ответвления располагаются на высоте не менее 6 м от земли над проезжей частью и не менее 3,5 м над тротуарами и внутри дворов. В местах подхода к изолятору ввода в здание ответвление снижается до 2,75 м.

На участках, расположенных около зданий, расстояние от провода, соединяющего опору с вводом, до балкона или окна не должно быть меньше 1,5 м. Располагать провода наружной электропроводки необходимо таким образом, чтобы прикоснуться к ним было невозможно. Особенно это необходимо учитывать в том случае, когда провода прокладываются открыто по стенам здания. При горизонтальной прокладке от провода, идущего над балконом или крыльцом, должно быть не менее 2,5 м; проходящего над окном – не менее 0,5 м; под балконом или под окном (считая от подоконника) – не менее 1 м. Если прокладка выполнена вертикально, от провода до окна должно быть не менее 0,75 м; до балкона – не менее 1,0 м.

Кроме проводов, ответвление от воздушной линии может быть выполнено кабелем. По опоре воздушной линии кабель в этом случае спускают к земле и укладывают в траншею. Участок спуска кабеля на расстоянии до 2 м от земли должен быть надежно защищен от случайных механических повреждений металлической трубой или какой-нибудь другой защитной конструкцией. Для вводов в здание применяются только изолированные провода. Как правило, ввод линии электропередачи в здание производится через стену.

Преимущества этого способа ввода налицо: легкая доступность для обслуживания, простота исполнения, несложность контроля за состоянием. Провода ответвления закрепляются на установленных на крюках изоляторах.

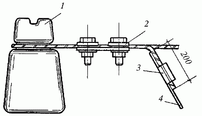
В рубленые стены крюки изоляторов ввинчивают в подготовленные отверстия диаметром и глубиной чуть меньше соответствующих размеров крюка. В кирпичных или бетонных стенах каждый крюк устанавливается в пробитое отверстие глубиной 10 см и диаметром в 2,5 раза больше диаметра самого крюка и закрепляется цементным раствором (рис. 59). Раствор должен затвердеть прежде, чем изолятор окажется под действием веса проводов. На все остальные типы стен (каркасно-засыпные, дощатые и т. п.) крюки устанавливают на деревянном брусе толщиной не менее 6–7 см, а уже сам брус привинчивают к стене.

Рис. 59. Установка крюков и изоляторов: 1 – цементный раствор; 2 – проволока; 3 – крюк; 4 – изолятор; 5 – вязка; 6 – провод для присоединения ввода

При этом необходимо проконтролировать, чтобы независимо от угла между стеной и проводами расстояние от токонесущего провода до выступающих частей здания, а также расстояние между проводами было не меньше 0,2 м. Провод ввода ни в коем случае нельзя присоединять непосредственно к натянутому проводу ответвления, это может вызвать обрыв проводов ответвления. Специально для подключения провода ввода к проводу ответвления концевое крепление последнего производят таким образом, чтобы конец провода ответвления составлял не менее 0,2 м. Провода прочно соединяются при помощи зажима ОАС (рис. 60). Концевое крепление алюминиевого многопроволочного провода ответвления марки А-25–А-50 осуществляется плашечными зажимами типа ПАБ. Возможно применение для этой цели бандажной вязки. При этом длина забандажированного участка провода должна составлять 75 мм, бандаж – надежно закрепляться на проводе ответвления со стороны изолятора 6 витками, со стороны подходящего к изолятору участка провода 109 витками (рис. 61).

Рис. 60. Крепление провода к изолятору зажимом: 1 – изолятор; 2 – зажим ПАБ; 3 – зажим ОАС; 4 – провод ввода

Рис. 61. Крепление провода к изолятору вязкой: 1 – изолятор; 2 – вязка; 3 – зажим ОАС; 4 – провод ввода

Проход проводов сквозь стену должен располагаться ниже изоляторов, но на расстоянии от земли, не превышающем минимальную высоту, разрешенную для ввода (2,75 м). Каждый из изолированных проводов ввода помещают в отдельную резиновую или пластмассовую изоляционную трубку. С наружной стороны здания на концы трубок помещают фарфоровые воронки. Расстояние между проводами в кирпичных стенах должно быть не менее 50 мм, в деревянных – не менее 100 мм.

Внутри здания на концы трубок помещаются втулки, а отверстия в стене заделываются алебастровым или цементным раствором. Чтобы вода не скапливалась в отверстиях внутри стены, не попадала в фарфоровые воронки и резиновые трубки и не проходила внутрь здания, проходы сквозь стены выполняются с уклоном в наружную сторону. С той же целью входные отверстия воронок и втулок после прокладки проводов заливают битумом или другой плавкой изоляционной массой. Для ввода используется медный или алюминиевый кабель либо изолированный провод в негорючей оболочке. При этом сечение провода или кабеля должно быть не меньше 2,5 мм2 для алюминия и 4 мм2 для меди.

  • Читать дальше
  • 1
  • ...
  • 72
  • 73
  • 74
  • 75
  • 76
  • 77
  • 78
  • 79
  • 80
  • 81
  • 82
  • ...

Private-Bookers - русскоязычная библиотека для чтения онлайн. Здесь удобно открывать книги с телефона и ПК, возвращаться к сохраненной странице и держать любимые произведения под рукой. Материалы добавляются пользователями; если считаете, что ваши права нарушены, воспользуйтесь формой обратной связи.

Полезные ссылки

  • Моя полка

Контакты

  • help@private-bookers.win