Строим дом
вернуться

Хворостухина Светлана Александровна

Шрифт:

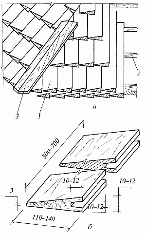
Рис. 40. Гонтовая кровля: а – общий вид; б – гонтина; 1 – гонт; 2 – обрешетка; 3 – доски

Для того чтобы заготовить гонт самостоятельно, необходимо взять бревна диаметром 300–400 мм, распилить их на куски длиной 400 мм, каждый кусок расколоть топором на 3–4 плахи толщиной 80–100 мм и каждую плаху с помощью колющего лезвия и колотушки расколоть на гонт толщиной 8–10 мм. Для этого плаха вставляется в тиски, сверху на нее наставляется лезвие, по которому наносятся короткие и жесткие удары колотушкой. Полученный гонт можно использовать сразу, пропитав его предварительно антисептиком.

Гонтовые кровли обычно бывают трехслойными. В каждом ряду острые края гонтин должны плотно входить в пазы на утолщенном ребре соседних гонтин, а вышележащие гонтины должны перекрывать стыки между ними. Причем чем меньше угол уклона, тем больше гонты должны перекрывать друг друга. Минимальное перекрытие составляет половину длины гонта. Каждая гонтина в верхней своей части прибивается к основанию кровли, так чтобы гвоздь входил в обрешетку не менее чем на 20–25 мм.

Вдоль свеса кровли прибивается доска, толщина которой должна равняться толщине гонта, на коньке гонт соединяется впритык.

Кровля из рулонных материалов

Кровли из рулонных материалов легки, экономичны и в том случае, когда они выполняются с соблюдением всех технологических требований, достаточно надежны. К их недостаткам можно отнести малую огнестойкость, небольшую механическую прочность и неэстетичность, поэтому чаще всего их используют при строительстве хозяйственных зданий.

Кровли из рулонных материалов представляют собой гибкий изоляционный ковер, который настилается насухо или наклеивается на основание при помощи горячих и холодных мастик. Рулонные кровли выполняются одно-, двух– или трехслойными (чаще двухслойными). В толевых кровлях оба слоя делаются из толя, в рубероидных – нижний слой делается из пергамина или подкладочного рубероида. Как правило, такой вид кровли применяется на пологих скатах, уклон которых не превышает 12°.

Основание под кровлю может быть одно– или двухслойным. Последнее предпочтительнее. Однослойное сплошное основание делается из досок толщиной 25 и шириной 90–120 мм. Первый, несущий, слой двухслойного основания выполняется из досок толщиной 25 и шириной 100–120 мм, уложенных с зазором 45–50 мм. Второй, выравнивающий, выполняется из досок толщиной 15–20 мм и шириной 80–100 мм, уложенных вплотную друг к другу под углом 45° к карнизу.

Для того чтобы кровельный материал при работе не скатывался, предварительно его надо подержать некоторое время в раскатанном виде или перемотать в рулон обратной стороной. При покрытии насухо рулонный материал настилается в два слоя: один слой – вдоль карниза, другой – перпендикулярно к нему. Каждый уложенный ряд по краям прибивается гвоздями. Окончательное крепление покрытия осуществляется с помощью реек сечением 30 х 30 мм, прибитых перпендикулярно к карнизу.

Покрыть кровлю рулонным материалом сухим способом можно и по-другому. Для этого к обрешетке перпендикулярно к карнизу прибиваются треугольные бруски сечением 50 х 50 мм. Расстояние между брусками должно быть меньше ширины рулонного материала на 100 мм. Разрезанные заранее полотна двойным слоем укладываются между брусками и прибиваются толевыми гвоздями через каждые 500 мм. В таком случае на гребне бруска получается шов, который перекрывается накладкой из сложенного вдвое толя или рубероида. Затем накладка прибивается толевыми гвоздями. На свесах крыши рулонный материал заворачивается под обрешетку на 100 мм и закрепляется толевыми гвоздями. На коньке и ребрах он загибается на 150 мм и прижимается двумя досками толщиной 25 мм и шириной 150 мм (рис. 41).

Рис. 41. Устройство кровли с использованием треугольных брусков: 1 – рулонный материал; 2 – треугольный брусок; 3 – насадка из рубероида или толя

Кровельные работы с использованием мастики начинаются с подготовки деревянного основания. Для этого на него в качестве грунтовки наносится растворенный в керосине, бензине или солярном масле битум в соотношении 2 : 1. Раствор готовится из расплавленного остывшего битума (при температуре не выше 75–80°), который небольшими порциями добавляется в растворитель. Смесь тщательно перемешивается до получения однородной массы и процеживается через металлическую сетку с ячейками 3 мм.

Рекомендуется наложить два слоя грунтовки толщиной 1–2 мм каждый: так будет обеспечено более высокая степень сцепления битумной мастики с материалом покрытия.

Перед наклеиванием материал надо сначала подготовить: полностью шпателем или жесткой щеткой счистить посыпку с нижней стороны, а с верхней – только на стыковочной полосе шириной 100–150 мм. Причем крупнозернистую слюдяную и песчаную посыпку необходимо предварительно обработать растворителем, а тальковую – керосином.

Подготовленный рулонный материал расстилают, отрезают кусок необходимой длины, затем скатывают и быстро покрывают основание мастикой на ширину рулона. Затем ногой на промазанную поверхность накатывают рубероид или толь, равномерно прижимая его, особенно по краям, на месте стыков. Для удобства выполнения этой операции рекомендуется надеть обувь на мягкой подошве без каблука.

Однослойное покрытие накладывается параллельно карнизу снизу кровли. Листы кладутся внахлестку с напуском верхнего ряда на нижний на 100–150 мм. При двухслойном покрытии первый слой накладывается перпендикулярно к карнизу, а второй – параллельно ему. После покрытия кровли рулонным материалом ее покрывают битумной мастикой и присыпают сухим просеянным песком.

Чтобы продлить срок службы рулонной кровли, ее можно дважды покрыть алюминиевой краской, смешанной с битумным лаком: первый раз кистью, второй раз краскопультом. Перед окрашиванием крышу необходимо очистить от грязи и пыли. При нанесении первого слоя покрасочная смесь должна содержать 8% алюминиевой пудры, а при нанесении второго слоя – 16%.

  • Читать дальше
  • 1
  • ...
  • 38
  • 39
  • 40
  • 41
  • 42
  • 43
  • 44
  • 45
  • 46
  • 47
  • 48
  • ...

Private-Bookers - русскоязычная библиотека для чтения онлайн. Здесь удобно открывать книги с телефона и ПК, возвращаться к сохраненной странице и держать любимые произведения под рукой. Материалы добавляются пользователями; если считаете, что ваши права нарушены, воспользуйтесь формой обратной связи.

Полезные ссылки

  • Моя полка

Контакты

  • help@private-bookers.win