Сварка
вернуться

Банников Евгений

Шрифт:

Тавровые соединения

Тавровые сварные соединения применяют для производства балок, стоек, колонн, каркасов зданий и прочих пространственных конструкций. Тавровые соединения могут быть с подготовкой кромок или без нее. В соединениях без подготовки может быть непровар корня шва. Поэтому такие соединения плохо работают при переменных и ударных нагрузках. Одно– или двухсторонний скос обеспечивает полный провар соединяемых элементов. Эти соединения имеют высокую прочность при любых нагрузках.

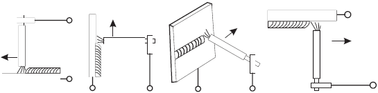
Рис. 41. Основные положения сварных швов в пространстве:

1 – нижнее; 2 – горизонтальное; 3 – вертикальное; 4 – потолочное

Угловые соединения

Как правило, угловые соединения применяют в качестве связующих элементов. Угловые соединения обычно не рассчитывают.

Классификация основных типов сварных швов

Угловые или стыковые сварные швы по положению в пространстве подразделяются (согласно ГОСТ 11969–79) на:

Н, Л – нижнее и в лодочку, соответственно;

Пг – полугоризонтальные;

Г – горизонтальные;

Пв – полувертикальные;

В – вертикальные;

Пп – полупотолочные;

П – потолочные.

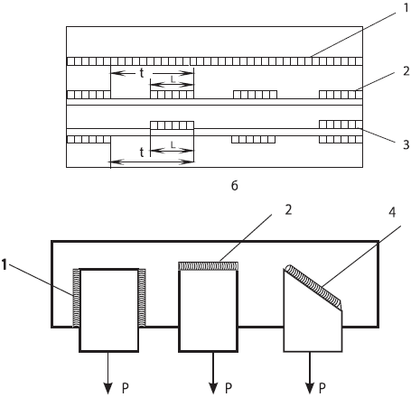
По протяженности (рис. 42) различают:

• швы сплошные;

• швы прерывистые (в шахматном порядке, цепные швы).

По отношению к направлению действующих усилий (рис 42б) различают:

• швы продольные;

• швы поперечные;

• комбинированные швы;

• косые швы.

По форме наружной поверхности (рис. 43) стыковые швы могут быть выполнены:

• нормальными (плоскими);

• выпуклыми или вогнутыми.

Выпуклые швы лучше работают при статических нагрузках, а плоские (нормальные) и вогнутые лучше работают при знакопеременных и динамических нагрузках, т. к. нет резкого перехода от основного металла к сварному шву.

По условиям работы сварного узла при эксплуатации изделия сварные швы подразделяют на рабочие, непосредственно несущие нагрузку, и на соединительные (связующие) швы. Связующие швы иногда называют нерабочими швами. Они служат для скрепления частей или деталей. Например, «прихватки» – связующие короткие швы для скрепления деталей перед сваркой.

На чертежах сварные швы в соответствии с ГОСТом 2.312–84 обозначают основными линиями с видимой стороны и штриховыми – с невидимой стороны. К ним подходит односторонняя стрелка с полкой, над которой пишут условное обозначение шва:

1 – место специального знака:

– шов замкнутый, контурный;

– шов монтажный;

– шов контурный, незамкнутый и т. п.;

2 – место стандарта (ГОСТа) – см. табл. 4;

3 – буквенно-цифровое обозначение сварного шва – см. табл. 4;

4 – условное обозначение способа сварки:

А – автоматическая сварка;

П – механизированная сварка;

У – сварка в углекислом газе;

И – сварка в инертном газе; сварка дуговая и ручная не обозначаются;

5 – условный знак профиля шва и его катет (для угловых швов);

6 – длина и расположение участков прерывистых швов.

Рис. 42.

Классификация сварных швов:

по протяженности (а):

1 – сплошной; 2 – цепной; 3 – шахматный;

по направлению действующих усилий (б):

1 – продольный; 2 – поперечный; 3 – комбинированный

  • Читать дальше
  • 1
  • ...
  • 28
  • 29
  • 30
  • 31
  • 32
  • 33
  • 34
  • 35
  • 36
  • 37
  • 38
  • ...

Private-Bookers - русскоязычная библиотека для чтения онлайн. Здесь удобно открывать книги с телефона и ПК, возвращаться к сохраненной странице и держать любимые произведения под рукой. Материалы добавляются пользователями; если считаете, что ваши права нарушены, воспользуйтесь формой обратной связи.

Полезные ссылки

  • Моя полка

Контакты

  • help@private-bookers.win