Якоря
вернуться

Скрягин Лев Николаевич

Шрифт:

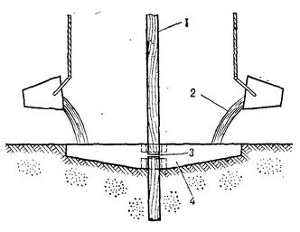
На рис. 39 показан свинцовый шток с такой перемычкой, крепившей когда-то его к деревянному веретену. Сейчас он хранится в Национальном музее в Афинах. Считают, что его изготовление относится к эпохе возникновения христианства.

37. Реконструкция якоря римского мастера Маркуса Севелуса

38. Схема изготовления свинцового штока с перемычкой по методу Маркуса Севелуса

Если все поднятые со дна Средиземного моря свинцовые штоки рассматривать в примерной хронологии их появления, нельзя не заметить важной закономерности: с приближением к началу нашей эры масса штоков явно уменьшается.

Видимо, древние греки и римляне поняли, что орудовать с якорями массой в тонну дело нелегкое. Хотя те и другие прекрасно умели использовать блоки и вороты, якорь нужно было опускать и поднимать. Да, именно опускать! Можно смело утверждать, что они не бросали свои хрупкие якоря на дно. Якоря они очень берегли и обращались с ними осторожно. Но об этом позже.

Штоки, которые археологи относят к I в. до н. э., значительно тоньше, легче и даже обшиты деревом. Такой облегченный шток нашли лет десять назад французские аквалангисты близ мыса Коре. Его длина 192 см, масса 240 кг.

Свинцовый шток длиной 170 см и массой около 200 кг вместе с обломком деревянного веретена обнаружил несколько лет назад экипаж советского земснаряда «Кубань-3» во время углубления канала в Керченскую бухту. Он тоже относится к I в. до н. э.

И еще о надписях на древних якорях. Как правило, на больших свинцовых штоках массой 600–700 кг встречается надпись на латинском языке «Зевс — бог всемогущий и спаситель» или просто латинская буква «Z». Иногда на торцах свинцового штока можно встретить изображение головы Медузы. Эти штоки — от особых якорей. У древних обитателей Средиземноморья они именовались «Anchora Sacra» — «священный якорь».

39. Свинцовый якорный шток с перемычкой (Национальный музей в Афинах)

Задумаемся на минуту, сколь зависимы от ветра и волн были древние мореплаватели! Сколько раз неуклюжие, малоостойчивые корабли греков и римлян, плававшие в основном только с попутным ветром, становились жертвами бурь. Не сразу мореходы Средиземного моря постигли премудрость господствующих течений, не сразу нанесли на свои примитивные карты опасные рифы и мели. Утлые суденышки дрейфовали «без руля и без ветрил» у опасного подветренного берега. В таких случаях вся, надежда попавших в беду моряков возлагалась на «священный якорь» — самый большой и тяжелый из всех находящихся на корабле. Им пользовались лишь тогда, когда судну грозила, неминуемая гибель.

Мореплаватели древности были очень набожны и — суеверны. Море они считали царством тьмы и неизвестности, населенным злыми и добрыми духами, которыми правит всемогущий Нептун. Поэтому перед тем как отдать якорь, мореходы Древнего Рима молились богам- покровителям и вырезали на деревянных рогах заклинания. Да и само изготовление «священного якоря» завершалось особым религиозным обрядом. В Древней Греции после того как мастер заканчивал работу, якорь торжественно переносили в храм Зевса… Там целую неделю якорю воздавались пышные почести, курились благовония, произносились молитвы, приносились жертвы… После этого служители храма вырезали на рогах якоря священные знаки, назначение которых — отвести от мореходов ¦- обладателей якоря злой дух, болезни и смерть. На штоке выбивалось стандартное клеймо- девиз: «Зевс — бог всемогущий и спаситель». Но почему на торцах свинцового штока вырезалось изображение Медузы-горгоны — чудовища, изображавшегося в виде женщины с головой, покрытой вместо волос извивающимися змеями? Оказывается, в позднейших мифах Медуза превратилась уже в прекрасную девушку, возлюбленную Посейдона, которому она родила Пегаса. Изображение ее головы на штоках якорей следует рассматривать как заклинание, отвращавшее от моряков опасность.

Несколько десятков свинцовых штоков с изображением головы Медузы нашли на дне моря у берегов Испании, Ливии и Ливана. Это были штоки «священных якорей».

В память о былом значении «священного якоря» в латыни осталось крылатое выражение: «Sacram anchoram solvere» — «Спасаться священным якорем», т. е. прибегать к последнему средству.

Огромное значение придавалось якорю моряками всех стран и в более поздние времена. Так, например, отношение моряков к якорю в эпоху парусного флота красноречиво отражено в дошедших до нас выражениях итальянского языка: «Ultima апсога» — «последний якорь», «последняя надежда»; норвежского: «Rednings anker» — «якорь спасения», французского: «Ancre d’Esperance» — «якорь надежды», «Ancre d’emisericorde» — «якорь спасения», «Ancre sacree» — «священный якорь», «L’ancre de salut» — «якорь спасения», и даже «Maitresse ancre» — «госпожа якорь» (во французском языке слово «якорь» женского рода).

2 Анкура — значит «изогнутый»

Где впервые отковали железный якорь?

Действительно, когда и где впервые появились железные якоря? Какой народ раньше других применил их на своих кораблях?

К сожалению, на эти вопросы точных ответов пока нет. Если о якорных камнях можно судить более или менее точно по археологическим находкам, а на якорях со свинцовыми штоками — даже прочитать имена тех, кто их изготовил, то с железными якорями дело обстоит намного сложнее. Вспомним, когда человек открыл ¦ железо. Каменные орудия, изобретение керамики, знакомство с самородной медью и золотом, металлургия меди и свинца, бронза… Известно, что умение добывать металлы и использовать их для изготовления орудий труда и борьбы раньше всего возникло у индо-европейских народов в Азии. Древние индо-европейские племена с незапамятных времен знали медь, свинец, золото и бронзу. Во втором тысячелетии до н. э. важнейшим из производственных достижений явилось употребление бронзы. Железо люди научились добывать в X в. до н. э. Говорят, египтяне в бронзовую эпоху уже знали железо, но считая его священным металлом — «костью Тифона», не применяли в быту, а пользовались бронзой и золотом. Как уже рассказывалось, у них были якорные камни. Каких-либо сведений о том, что мореплаватели Древнего Востока применяли на своих судах якоря дз железа во II в. до н. э., в хрониках не встречается.

Почти все античные историки и географы Греции и Рима говорят об употреблении железа в их странах за-ч долго до начала нашей эры. Существование обжиговых и плавильных печей в эллинско-римскую эпоху у нас не вызывает сомнения. Но когда именно в эту эпоху и кем был откован первый железный якорь? Посмотрим, что об этом пишут классики Древнего мира и историки.

Якорь, который сам при тяге за канат переворачивается на рог, придумали на Востоке за две тысячи лет до нашей эры. Такие якоря, сделанные сначала целиком из дерева, а позже — со свинцовыми штоками, получили распространение в бассейне Средиземного моря. Но кто первый сумел сделать их из железа?

  • Читать дальше
  • 1
  • ...
  • 4
  • 5
  • 6
  • 7
  • 8
  • 9
  • 10
  • 11
  • 12
  • 13
  • 14
  • ...

Private-Bookers - русскоязычная библиотека для чтения онлайн. Здесь удобно открывать книги с телефона и ПК, возвращаться к сохраненной странице и держать любимые произведения под рукой. Материалы добавляются пользователями; если считаете, что ваши права нарушены, воспользуйтесь формой обратной связи.

Полезные ссылки

  • Моя полка

Контакты

  • help@private-bookers.win